
产品概述
产品型号:Q71F 产品名称:意式超短型球阀 产品特点:Q71F对夹连接球阀具有结构紧凑、体积小、重量轻、密封性能好、启闭灵活而保温对夹连接球阀良好的保温保冷特性既能有效防止管路中粘稠介质凝固,又能降低管路中介质热量的损失。对夹球阀可装上相应的电动及气动装置,以实现遥控或自动控制。适用于石油、化工、冶金、制药、食品等各类系统中。应用规范 公称压力:1.6-2.5MPa 适用温度范围:-20~232℃-350℃ 适用介质:水、
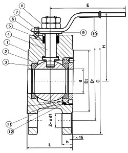
主要零件材料:
|
序号 |
零件名称 |
材质 |
|
1 |
阀体 |
不锈钢CF8M/CF8 |
碳钢WCB |
|
2 |
球 |
不锈钢316/304 |
不锈钢SS304 |
|
3 |
密封垫 |
聚四氟乙稀PTFE |
聚四氟乙稀PTFE |
|
4 |
阀杆 |
不锈钢316/304 |
不锈钢SS304 |
|
5 |
填料 |
聚四氟乙烯PTFE |
聚四氟乙烯PTFE |
|
6 |
定位锁 |
不锈钢304 |
不锈钢SS304 |
|
7 |
手柄 |
不锈钢304 |
不锈钢SS304 |
|
8 |
阀杆螺母 |
不锈钢304 |
不锈钢SS304 |
|
9 |
填料压盖 |
不锈钢304 |
不锈钢SS304 |
|
10 |
手柄套 |
塑料 |
塑料 |
|
11 |
密封瓶帽 |
不锈钢316/304 |
不锈钢316/304 |
|
12 |
垫圈 |
聚四氟乙稀PTFE |
聚四氟乙稀PTFE |
意式超短型球阀主要尺寸:
| SIZE |
1/2″ |
3/4″ |
1″ |
11/4″ |
11/2″ |
2″ |
21/2″ |
3″ |
4″ |
5″ |
6″ |
8″ |
| D |
15 |
19 |
23.5 |
30 |
36 |
45 |
58 |
67 |
76 |
100 |
125 |
195 |
| L |
32 |
38 |
40 |
50 |
60 |
70 |
95 |
118 |
140 |
195 |
225 |
275 |
| D |
95 |
105 |
115 |
135 |
145 |
160 |
180 |
195 |
215 |
245 |
280 |
335 |
| D1 |
65 |
75 |
85 |
100 |
110 |
125 |
145 |
160 |
180 |
210 |
240 |
295 |
| D2 |
45 |
55 |
65 |
78 |
85 |
100 |
120 |
135 |
155 |
185 |
210 |
265 |
| H |
62 |
70 |
79 |
86 |
92 |
102 |
158 |
172 |
187 |
200 |
240 |
278 |
| E |
110 |
125 |
135 |
150 |
150 |
180 |
250 |
300 |
350 |
650 |
840 |
1000 |
| B |
14 |
14 |
16 |
16 |
18 |
20 |
22 |
24 |
24 |
26 |
26 |
28 |
| z-d1 |
4-14 |
4-14 |
4-14 |
4-18 |
4-18 |
4-18 |
4-18 |
8-18 |
8-18 |
8-18 |
8-23 |
12-20 |
| f |
2 |
2 |
2 |
3 |
3 |
3 |
3 |
3 |
3 |
3 |
3 |
3 | 注:其中6″、8″阀体为两段式超短型结构。 |